第七章 UART
特性介绍
LPC2138微控制器具有两个UART控制器,每个UART控制器拥有Rx & Tx FIFO(各16字节),Rx FIFO可以设置当接收到1/4/8/14个字节时触发中断。
UART控制器的参考时钟是PCLK。
UART控制器原理

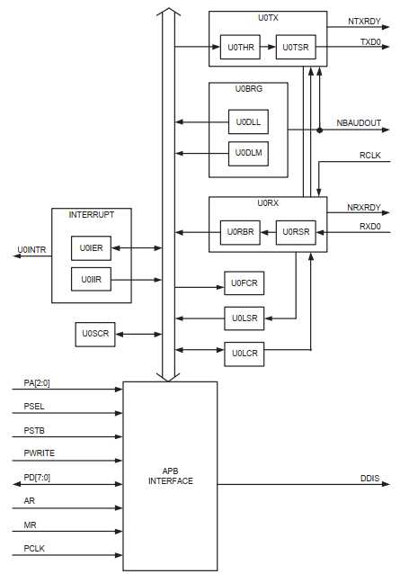
从UART控制器内部原理图上可以看出,UART控制器主要由配置中断部分(U0IER & U0IIR)、帧控制(U0LCR)、波特率配置(U0FDR & U0DLL & U0DLM)、FIFO配置(U0FCR)、发送和接收(U0THR & U0RBR)几部分组成。
它们各司其职,UART初始化时,首先通过PCLK频率和波特率计算U0FDR、U0DLL、U0DLM的值,然后通过U0LCR配置数据帧格式(如8位数据位、一位停止位、无奇偶校验位),接下来通过U0FCR配置FIFO工作模式(包括接收到多少个字节触发中断),最后使能中断。此外就是读写函数和中断服务函数的实现。
波特率计算公式如下:

UART协议
UART调试串口实例
调试UART程序的过程中,发现读写均无效,最后发现是因为U1IIR中断状态寄存器是读清的,在中断服务函数中必须进行读操作,否则程序会一直驻留在中断服务函数中。
#include <lpc213x.h> #include "serial.h" #define CR 0x0D void serial1_isr(void) __irq { /* The U1IIR must be read in order to ** clear the interrupt prior to exiting the ** Interrupt Service Routine. */ if ((U1IIR & 0x0E) == 0x04) { /* Receive Interrupt */ sendchar(U1RBR); } if (U1LSR & 0x20) { /* Transmit Interrupt */ } } void serial_init(void) { /* configure P0.8~9 as TXD1 & RXD1 */ PINSEL0 &= 0xFFF0FFFF; PINSEL0 |= 0x00050000; /* 8bits, no Parity, 1 Stop bit */ U1LCR = 0x83; /* 9600 bauds while PCLK is 30MHz */ U1DLL = 0xC3; U1DLM = 0x00; U1FDR = 0x10; /* DLAB = 0 */ U1LCR = 0x03; /* Reset & Enable FIFO, configure Rx FIFO trigger level 0 (1 character) */ U1FCR = 0x07; /* Enable RDA & THRE Interrupts */ U1IER = 0x03; /* UART1 ISR */ VICVectCntl1 = 0x20 | 7; VICVectAddr1 = (unsigned int)serial1_isr; VICIntEnable = 0x80; } int sendchar(char ch) { if (‘\n‘ == ch) { while (!(U1LSR & 0x20)); U1THR = CR; } while (!(U1LSR & 0x20)); return (U1THR = ch); } void sendhex(char hex) { int i = 0; char half[2] = {0}; half[0] = hex >> 4; half[1] = hex & 0x0F; sendstr("0x"); for (i = 0; i < 2; i++) { if (half[i] > 9) sendchar(‘A‘ + (half[i] - 10)); else sendchar(‘0‘ + half[i]); } } void sendstr(char *p) { while (*p) sendchar(*p++); }
原文:https://www.cnblogs.com/justin-y-lin/p/12340711.html