一、TCP的特点
- 面向连接的、可靠的、基于字节流的传输层通信协议。
- 将应用层的分割成报文段,并发送发给目标节点的TCP层。
- 数据包都有序号,对方收到则发送ACK确认,未收到则重传。
- 使用效验和来效验数据在传输过程中是否有误。
二、TCP报文信息
  报文头包含信息有:
- 源端口、目的端口
- 标示进程(socket):IP地址+协议+端口号
  TCP的flags标志:
- URC:urgent,紧急指针,为1时有效;
- ACK:确认序列号标志;
- PSH:push标志,数据不进入缓存区,直接交给应用程序;
- RST:重置连接标志;
- SYN:同步序列号,用于建立连接过程;
- FIN:finish标志,用于释放连接。
三、TCP的三次握手
流程图如下(自己画的呦~ 推荐工具:在线网址ProcessOn):
 
TCP三次握手流程图详细说明:
- 建立连接时,客户端发送SYN包(seq=x)到服务端,并进入SYN-SEND状态,等待服务器确认。
- 服务器收到SYN包,必须确认客户端的SYN(ack=x+1),同时,自己也发送一个SYN包(seq=y),即SYN+ACK包,此时,服务器进入SYN-RECV状态。
- 客户端收到服务器的SYN+ACK包,向服务器发送确认包ACK(ack=y+1),此包发送完毕,客户和服务器进入ESTABKISHED状态。开始数据传输。
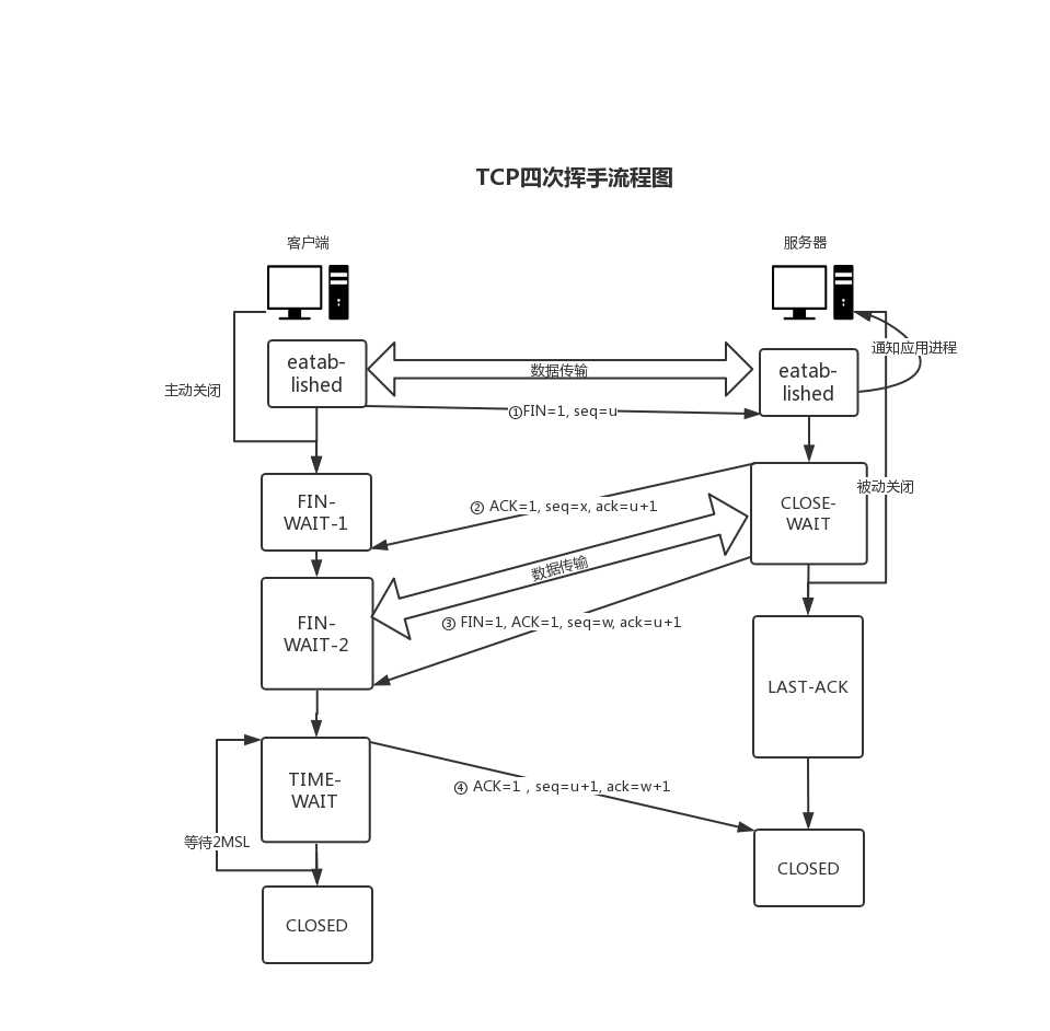
四、TCP的四次挥手

 
TCP四次挥手流程图详细说明:
- client发送一个FIN后,用来关闭client到service的数据传输,client进入FIN-WAIT-1状态。
- service收到FIN后,发送一个ACK给client,确认序号为收到的seq+1(与SYN相同,一个FIN占用一个序号),service进入CLOSED-WAIT。
- service发送一个FIN,用来关闭service到client的数据传输,service进入LAST-ACK状态。
- client收到FIN后,client进入TIME-WAIT状态,接着发送一个ACK给service,确认序号为收到的序号+1。service进入CLOSED状态,完成四次挥手。
五、TCP的滑动窗口
作用:① 保证TCP的可靠性;
   ②保证TCP的流控制特性(数据顺序发送)。

六、UDP的特点
- 面向非连接的
- 不维护连接状态,支持同时想多个客户端传输相同的消息
- 数据包报文头只有8个字节,额外开较少
- 吞吐量只受限于数据生成速率、传输速率及机器性能
- 尽最大努力交互,不保证可靠交付,不维持连接状态表
- 面向报文,不对应用程序提交的报文进行拆分和合并
七、TCP和UDP的区别
- 面向连接/无连接
- 可靠/不可靠
- 报文有序/无序
- 速度
- 量级
 
详解TCP与UDP
原文:https://www.cnblogs.com/yonghome/p/tcpAndUdp.html