2015年以来,Android开发领域里对热修复技术的讨论和分享越来越多,同时也出现了一些不同的解决方案,如QQ空间补丁方案、阿里AndFix以及微信Tinker,它们在原理各有不同,适用场景各异,到底采用哪种方案,是开发者比较头疼的问题。本文希望通过介绍QQ空间补丁、Tinker以及基于AndFix的阿里百川HotFix技术的原理分析和横向比较,帮助开发者更深入了解热修复方案。
技术背景
一、正常开发流程

从流程来看,传统的开发流程存在很多弊端:
重新发布版本代价太大
用户下载安装成本太高
BUG修复不及时,用户体验太差
二、热修复开发流程

而热修复的开发流程显得更加灵活,优势很多:
无需重新发版,实时高效热修复
用户无感知修复,无需下载新的应用,代价小
修复成功率高,把损失降到最低
业界热门的热修复技术
热修复作为当下热门的技术,在业界内比较著名的有阿里巴巴的AndFix、Dexposed,腾讯QQ空间的超级补丁技术和微信的Tinker。最近阿里百川推出的HotFix热修复服务就基于AndFix技术,定位于线上紧急BUG的即时修复,所以AndFix技术这块我们重点分析阿里百川HotFix。下面,我们就分别介绍QQ空间超级热补丁技术和微信的Tinker以及阿里百川HotFix技术。
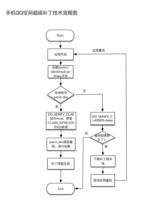
一、QQ空间超级补丁技术
超级补丁技术基于DEX分包方案,使用了多DEX加载的原理,大致的过程就是:把BUG方法修复以后,放到一个单独的DEX里,插入到dexElements数组的最前面,让虚拟机去加载修复完后的方法。

当patch.dex中包含Test.class时就会优先加载,在后续的DEX中遇到Test.class的话就会直接返回而不去加载,这样就达到了修复的目的。
但是有一个问题是,当两个调用关系的类不在同一个DEX时,就会产生异常报错。我们知道,在APK安装时,虚拟机需要将classes.dex优化成odex文件,然后才会执行。在这个过程中,会进行类的verify操作,如果调用关系的类都在同一个DEX中的话就会被打上CLASS_ISPREVERIFIED的标志,然后才会写入odex文件。
所以,为了可以正常的进行打补丁修复,必须避免类被打上CLASS_ISPREVERIFIED标志,具体的做法就是单独放一个类在另外DEX中,让其他类调用。
我们来逆向手机QQ空间APK看一下具体的实现:
先进入程序入口QZoneRealApplication,在attachBaseContext中进行了两步操作:修复CLASS_ISPREVERIFIED标志导致的unexpected DEX problem异常、加载修复的DEX。

1. 修复unexpectedDEX problem异常
先看代码:

可以看到,这里是要加载一个libs目录下的dalvikhack.jar。在项目的assets/libs找到该文件,解压得到classes.dex文件,逆向打开该DEX文件,

通过不同的DEX加载进来,然后在每一个类的构造方法中引用其他dex中的唯一类AnitLazyLoad,避免类被打上CLASS_ISPREVERIFIED标志。

在无修复的情况下,将DO_VERIFY_CLASSES设置为false,提高性能。只有在需要修复的时候,才设置为true。

至于如何加载进来,与接下来第二个步骤基本相同。
2. 加载修复的DEX
从loadPatchDex()方法进入,经过几次跳转,到达核心的代码段,SystemClassLoaderInjector.c()。由于进行了混淆和多次方法的跳转,于是将核心代码段做了如下整理:

修复的步骤为:
1. 可以看出是通过获取到当前应用的Classloader,即为BaseDexClassloader
2. 通过反射获取到他的DexPathList属性对象pathList
3. 通过反射调用pathList的dexElements方法把patch.dex转化为Element[]
4. 两个Element[]进行合并,把patch.dex放到最前面去
5. 加载Element[],达到修复目的
整体的流程图如下:

从流程图来看,可以很明显的找到这种方式的特点:
优势:
没有合成整包(和微信Tinker比起来),产物比较小,比较灵活
可以实现类替换,兼容性高。(某些三星手机不起作用)
不足:
1. 不支持即时生效,必须通过重启才能生效。
2. 为了实现修复这个过程,必须在应用中加入两个dex!dalvikhack.dex中只有一个类,对性能影响不大,但是对于patch.dex来说,修复的类到了一定数量,就需要花不少的时间加载。对手淘这种航母级应用来说,启动耗时增加2s以上是不能够接受的事。
3. 在ART模式下,如果类修改了结构,就会出现内存错乱的问题。为了解决这个问题,就必须把所有相关的调用类、父类子类等等全部加载到patch.dex中,导致补丁包异常的大,进一步增加应用启动加载的时候,耗时更加严重。
二、微信Tinker
微信针对QQ空间超级补丁技术的不足提出了一个提供DEX差量包,整体替换DEX的方案。主要的原理是与QQ空间超级补丁技术基本相同,区别在于不再将patch.dex增加到elements数组中,而是差量的方式给出patch.dex,然后将patch.dex与应用的classes.dex合并,然后整体替换掉旧的DEX,达到修复的目的。

我们来逆向微信APK看一下具体的实现:
先找到应用入口TinkerApplication,在onBaseContextAttached()调用了loadTinker(),

进入TinkerLoader的tryLoad()方法中,

从方法名可以预见,在tryLoadPatchFilesInternal()中尝试加载本地的补丁,再经过跳转进入核心修复功能类SystemClassLoaderAdder.class中。

代码中可以看出,根据Android版本的不同,分别采取具体的修复操作,不过原理都是一样的。我们以V19为例,

从代码中可以看到,通过反射操作得到PathClassLoader的DexPatchList,反射调用patchlist的makeDexElements()方法吧本地的dex文件直接替换到Element[]数组中去,达到修复的目的。
对于如何进行patch.dex与classes.dex的合并操作,这里微信开启了一个新的进程,开启新进程的服务TinkerPatchService进行合并。

整体的流程如下:

从流程图来看,同样可以很明显的找到这种方式的特点:
优势:
合成整包,不用在构造函数插入代码,防止verify,verify和opt在编译期间就已经完成,不会在运行期间进行
性能提高。兼容性和稳定性比较高。
开发者透明,不需要对包进行额外处理。
不足:
与超级补丁技术一样,不支持即时生效,必须通过重启应用的方式才能生效。
需要给应用开启新的进程才能进行合并,并且很容易因为内存消耗等原因合并失败。
合并时占用额外磁盘空间,对于多DEX的应用来说,如果修改了多个DEX文件,就需要下发多个patch.dex与对应的classes.dex进行合并操作时这种情况会更严重,因此合并过程的失败率也会更高。
三、阿里百川HotFix
阿里百川推出的热修复HotFix服务,相对于QQ空间超级补丁技术和微信Tinker来说,定位于紧急bug修复的场景下,能够最及时的修复bug,下拉补丁立即生效无需等待。

1、AndFix实现原理
AndFix不同于QQ空间超级补丁技术和微信Tinker通过增加或替换整个DEX的方案,提供了一种运行时在Native修改Filed指针的方式,实现方法的替换,达到即时生效无需重启,对应用无性能消耗的目的。
原理图如下:

2、AndFix实现过程
对于实现方法的替换,需要在Native层操作,经过三个步骤:

接下来以Dalvik设备为例,来分析具体的实现过程:
2.1 setup()

对于Dalvik来说,遵循JIT即时编译机制,需要在运行时装载libdvm.so动态库,获取以下内部函数:
1) dvmThreadSelf( ):查询当前的线程;
2)dvmDecodeIndirectRef():根据当前线程获得ClassObject对象。
2.2 setFieldFlag

该操作的目的:让private、protected的方法和字段可被动态库看见并识别。原因在于动态库会忽略非public属性的字段和方法。
2.3 replaceMethod

该步骤是方法替换的核心,替换的流程如下:

AndFix对ART设备同样支持,具体的过程与Dalvik相似,这里不再赘述。
从技术原理,不难看出阿里百川HotFix的几个特点:
最大的优势在于
BUG修复的即时性
补丁包同样采用差量技术,生成的PATCH体积小
对应用无侵入,几乎无性能损耗
不足:
不支持新增字段,以及修改<init>方法,也不支持对资源的替换。
由于厂商的自定义ROM,对少数机型暂不支持。
综合分析如下:

热修复的坑和解
我们可以看到,QQ空间超级补丁技术和微信Tinker的修复原理都基于类加载,在功能上已经支持类、资源的替换和新增,功能非常强大。既然已经有了这么强大的热修复技术,为什么阿里百川还要推出自己的热修复方案HotFix呢?
一、多DEX带来的性能问题和影响
我们知道,多DEX方案用来解决应用方法数65k的问题,现在Google也官方支持了MultiDex的实现方案。但是,这实在是应用因方法数超出而作出的不得已的下策,但是超级补丁技术和Tinker作为一种热修复的方案,平生给应用增加了多个DEX,而多DEX技术最大的问题在于性能上的坑,因此基于这种方案的补丁技术影响应用的性能是无疑的。
1. 启动加载时间过长
我们可以看到,超级补丁技术和Tinker都选择在Application的attachBaseContext()进行补丁dex的加载,即使这是加载dex的最佳时机,但是依然会带来很大的性能问题,首当其冲的就是启动时间太长。
对于补丁DEX来说,应用启动时虚拟机会进行dexopt操作,将patch.dex文件转换成odex文件,这个过程非常耗时。而这个过程,又要求需要在主线程中,以同步的方式执行,否则无法成功进行修复。就DEX的加载时间,大概做了以下的时间测试。

随着patch.dex的增加,在不做任何优化的情况下,启动时间也直线增长。对于一个应用来说,这简直是灾难性的。
2. 易造成应用的ANR和Crash
正是尤其多DEX加载导致了启动时间过长,很容易就会引发应用的ANR。我们知道当应用在主线程等待超过5s以后,就会直接导致长时间无响应而退出。超级补丁技术为保证ART不出现地址错乱问题,需要将所有关联的类全部加入到补丁中,而微信Tinker采取一种差量包合并加载的方式,都会使要加载的dex体积变得很大。这也很大程度上容易导致ANR情况的出现。
除了应用ANR以外,多DEX模式也同样很容易导致Crash情况的出现。我们知道,超级补丁技术为了保证ART设备下不出现地址错乱问题,需要把修改类的所有相关类全部加入到补丁中,这里会出现一个问题,为了保证补丁包的体积最小,能否保证引入全部的关联类而不引入无关的类呢?一旦没有引入关联的类,就会出现以下的异常:
NoClassDefFoundError
Could not find class
Could not find method
出现这些异常,就会直接导致应用的Crash退出。
所以,不难看出如果我们需要修复一个不是Crash的BUG,但是因为未加入相关类而导致了更严重的Crash,就更加的得不偿失。
总的来说,热修复本质的目的是为了保证应用更加稳定,而不是为了更强大的功能引入更大的风险和不稳定性。
二、热修复 or 插件化?
我们经常提到热修复和插件化,这都是当下热门的新兴技术。在讲述之前,需要对这两个概念进行一下解释。
插件化:一个程序划分为不同的部分,以插件的形式加载到应用中去,本质上它使用的技术还是热修复技术,只是加入了更多工程实践,让它支持大规模的代码更新以及资源和SO包的更新。
热修复:当线上应用出现紧急BUG,为了避免重新发版,并且保证修复的及时性而进行的一项在线推送补丁的修复方案。
显然,从概念上我们可以看到,插件化使用场景更多是功能,热修复使用常见在于修复。从这个层面来说,插件化必然功能更加强大,能做的事情也更多。QQ空间超级补丁技术和微信Tinker从类、资源的替换和更新上来看,与其说是热修复,不如说是插件化。
当然,强大的功能也就增加了不稳定的因素。比如上文提到的增加启动时间,导致ANR、Crash的问题。
QQ空间超级补丁技术和微信Tinker提供了更加强大的功能,但是对应用的性能和稳定有较大的影响,就BUG修复的这个使用场景上还不够明确,并且显得过重。
针对应用的性能损耗,我们可以举例做一个对比。
某APP的启动载入时间为3s左右,本身就是基于多DEX模式的实现。
分别接入三种热修复服务,根据腾讯提供超级补丁技术和Tinker的数据,那么会变成以下的场景:
阿里百川HotFix:启动时间几乎无增加,不增加运行期额外的磁盘消耗。
QQ空间超级补丁技术:如果应用有700个类,启动耗时增加超过2.5s,达到5.5s以上。
微信Tinker:假设应用有5个DEX文件,分别修改了这5个DEX,产生5个patch.dex文件,就要进行5次的patch合并动作,假设每个补丁1M,那么就要多占用7.5M的磁盘空间。
显然对于修复紧急BUG这个场景,阿里百川HotFix的更为合适,它更加轻量,可以在不重启的情况下生效,且对性能几乎没有影响。微信Tinker、QQ空间超级补丁技术更多地把场景定位在发布小的新功能上,采用ClassLoader的模式,牺牲较高的性能代价去实现类、资源新增或替换的功能。阿里百川HotFix对应用本身做到无侵入,无性能损耗。
总结
QQ空间超级补丁技术和微信Tinker 支持新增类和资源的替换,在一些功能化的更新上更为强大,但对应用的性能和稳定会有的一定的影响;阿里百川HotFix虽然暂时不支持新增类和资源的替换,对新功能的发布也有所限制,但是作为一项定位为线上紧急BUG的热修复的服务来说,能够真正做到BUG即时修复用户无感知,同时保证对应用性能不产生不必要的损耗,在热修复方面不失为一个好的选择。
转自:http://mp.weixin.qq.com/s?__biz=MzI3MDE0NzYwNA==&mid=2651433854&idx=1&sn=3cabf6a7aa6181006ac2336f0dc75dd7&chksm=f1288205c65f0b139f55dcb704fa8f976f4d30a1538257569be6edd7b242bc1cae6712ceee78&scene=0#wechat_redirect
原文:http://www.cnblogs.com/softwarelanguagebs/p/5869517.html