攥写人:杨光 学号:20135233
( *原创作品转载请注明出处*)
( 学习课程:《Linux内核分析》MOOC课程http://mooc.study.163.com/course/USTC-100
实验要求:
使用gdb跟踪分析一个系统调用内核函数(您上周选择那一个系统调用),系统调用列表参见http://codelab.shiyanlou.com/xref/linux-3.18.6/arch/x86/syscalls/syscall_32.tbl ,推荐在实验楼Linux虚拟机环境下完成实验。
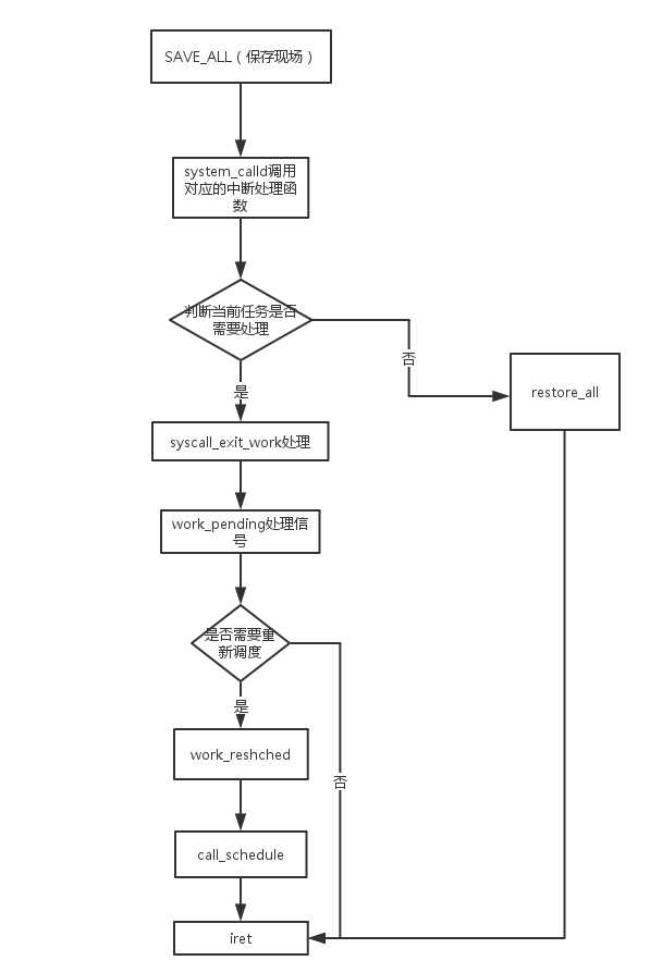
根据本周所学知识分析系统调用的过程,从system_call开始到iret结束之间的整个过程,并画出简要准确的流程图
实验过程:
在menu文件夹中 编辑test.c文件,增加fork函数,并添加MenuCofig新项目

保存并退出,使用make rootfs指令 编译运行内核,测试功能

知识点分析总结:
system_call开始到iret结束之间的整个过程流程图:

原文:http://www.cnblogs.com/yg137565645/p/5322765.html